- 联系人:赵玉娜
- 手机:15075838878
- 传真:0318--8062555
- 邮箱:2850126577@qq.com
- 网址:www.muyuan1.com
- 地址:安平县汉王路与南环交叉口东行200米路北
面粉厂采用重载荷钢格栅板作为卸粮坑进口的优点
目前国内面粉厂、粮库等场地的卸粮坑的工艺流程为:袋装原粮或车载散粮—卸粮坑—刮板输送机—斗式提升机—清理设备—计量装置—斗式提升机—仓顶输送机—入仓储存。
卸粮坑在入口处需要采用能够足以承载卸粮车还能够有一定孔距来使粮食进入卸粮坑的材料来搭建。所以,重载荷钢格栅板成为面粉厂卸粮坑优先选择的入口格栅。
钢格栅板作为卸粮坑入口还有清楚大尺寸杂物的功能,常用的孔距为25mm*25mm,能够很好的避免大尺寸杂物进入卸粮坑。在钢格栅板下边布置防尘挡板可以在不卸粮食的时候关闭,避免粉尘外溢。
我们举个安装的栗子。来更清楚的认识卸粮坑如何采用重载荷型钢格栅板。
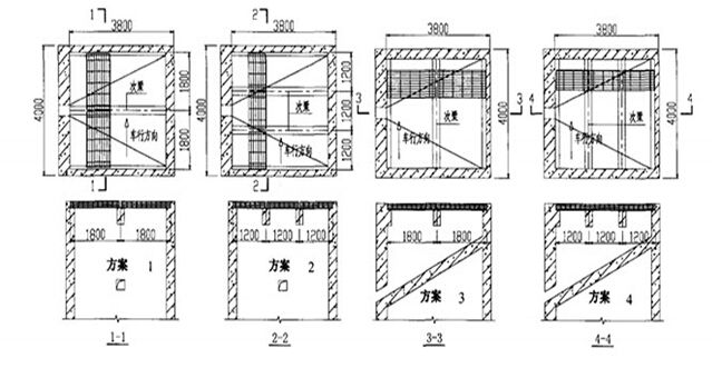
某粮食储备库一汽车卸粮坑,其上部铺设重荷载压焊钢格板,卸粮坑平面尺寸3.8mx4.0m,其平面及剖面详见图1。
考虑到卸梁坑上直接铺钢格板,跨度较大,采取卸梁坑上部布置次梁的方式减小压焊钢格板跨度。以下列出4种方案,
方案1:沿横向布置1道次梁;
方案2:沿横向布置2道次梁;
方案3:沿纵向布置1道次梁;
方案4:沿纵向布置2道次梁;
方案1及方案3的压焊钢格板采用130millX10mmX50mm(宽X厚X间距)的承载扁钢与包边板及横杆通过压力电阻焊固定而成,方案2及方案4的压焊钢格板采用110minx8mmx50mm(宽×厚×间距)的承载扁钢与包边板及横杆通过压力电阻焊固定而成,承载扁钢均采用Q235B级钢材。
看几个实例图吧,这样更加直观:


可以说重载荷型钢格栅板就是为了承载重吨位车辆设计的。被广泛应用于工厂、车间、矿业、港口、码头,而这些场地时常有重型车辆经过,既要考虑人行的安全,同时也要满足车辆在其上行驶的需要,这就对钢格栅板提出了更高的承载力及刚度要求。因此,对这些特殊场合的重荷载钢格栅板应进行专门的设计。
相关推荐:
重载荷钢格板
影响镀锌钢格板价格的因素
- 2021-01-18
为什么平台钢格板会出现裂纹现象
- 2021-01-18
热镀锌钢格栅板如何提高镀锌层附着力并且表..
- 2021-01-16
钢结构平台采用钢格栅板和花纹板的区别
- 2021-01-15
如何快速看懂钢格板CAD施工图纸
- 2021-01-14
我国钢格栅板的发展史
- 2021-01-14
电厂钢格栅板踏步板沟盖板规格尺寸
- 2017-08-25
2017年8月24日盘条价格及安平盘条报价 -安平..
- 2017-08-25
镀锌格栅板最新报价-安平县慕源镀锌格栅板厂







